JOHNSON控制器PCA2513技术参数
Product Code Numbers | CH-PCA2513-0 model of the PC programmable controller |
Power Requirement | 24 VAC (nominal, 20 VAC minimum/30 VAC maximum), 50/60 Hz, power supply Class 2 (North America), Safety Extra-Low Voltage (SELV) (Europe) |
Power Consumption | 14 VA maximum |
Power Source | +15 VDC power source terminals provide 100 mA total current. Quantity 1 located in Universal IN terminals- for active (3-wire) input devices. |
Ambient Conditions | Operating: 0°C to 50°C (32°F to 122°F); 10 to 90% RH noncondensing |
Addressing | BACnet® MS/TP: DIP switch set; valid controller device addresses 4–127 (Device addresses 0–3 and 128–255 are reserved and not valid controller addresses). |
Communications Bus | 3-wire FC bus between the supervisory controller and other controllers |
Processor | RX631 Renesas®, 32-bit microcontroller |
Real-Time Clock Backup Power Supply | Super capacitor maintains power to the onboard real-time clock for a minimum of 72 hours when supply power to the controller is disconnected. |
Memory | 16 MB flash memory and 8 MB SDRAM |
Input and Output Capabilities | 4 - Universal Inputs: Defined as 0–10 VDC, 0–600k ohm, or Binary Dry Contact |
Analog Input/Analog Output Resolution and Accuracy | Analog Input: 15-bit resolution |
Terminations | Input/Output: Fixed Screw Terminal Blocks |
Mounting | Horizontal on single 35 mm DIN rail mount (preferred), or screw mount on flat surface with three integral mounting clips on controller |
Housing | Enclosure material: ABS and polycarbonate, Rating V0 minimum |
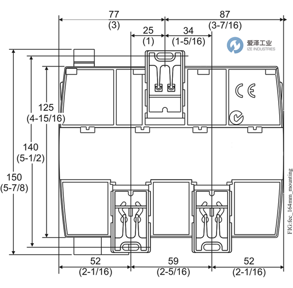
Dimensions (Height x Width x Depth) | 150 mm x 164 mm x 48 mm (5-7/8 in. x 6-7/16 in. x 1-7/8 in.) including terminals and mounting clips |
Weight | 0.5 kg (1.1 lb) |
JOHNSON控制器PCA2513产品介绍
PCA2513控制器运行预先设计和用户编程的应用程序,并提供监控和控制各种 HVAC 和其他设施设备所需的输入和输出。
PCA 控制器作为 BACnet 专用控制器 (B-AAC) 在 RS-485 BACnet® MS/TP 总线上运行,并集成到 Johnson Controls® 和第三方 BACnet 系统中。 这些控制器包括一个集成的实时时钟,使控制器能够监视和控制时间表、日历和趋势,并在系统网络离线时作为独立控制器长时间运行。 此型号不支持无线应用程序。
The PCA2513 Controller runs pre-engineered and user-programmed applications and provides the inputs and outputs required to monitor and control a wide variety of HVAC and other facility equipment.
PCA controllers operate on an RS-485 BACnet® MS/TP Bus as BACnet Application Specific Controllers (B-AACs) and integrate into Johnson Controls® and third-party BACnet systems. These controllers include an integral real-time clock, which enables the controllers to monitor and control schedules, calendars, and trends, and operate for extended periods of time as stand-alone controllers when offline from the system network. This model does not support wireless applications.
JOHNSON控制器PCA2513技术尺寸

JOHNSON控制器PCA系列其他常用型号:
JOHNSON PCA2513
JOHNSON PCA2611
JOHNSON PCA2612
JOHNSON PCA3613
JOHNSON PCA4911
JOHNSON CH-PCA2513-0
JOHNSON CH-PCA3613-0
JOHNSON Controller NEW + ORIGINAL+ ONE YEAR WARRANTY
爱泽工业成立于2010年,定位于向制造工业提供高端制造技术和设备。代理经营世界优质的电气自动化、机械与传动、流体控制、仪器仪表、工具等产品。作为电气,液压以及气动解决方案的合作伙伴,我们利用我们的全球协作团队,为客户提供先进解决方案,市场知识以及相关增值服务来帮助优化客户的工作效率,提高可靠性和安全性,致力于成为工业产品和解决方案的优质渠道。
如果有任何关于JOHNSON控制器PCA2513的疑问,请随时与我们沟通(021-31006702)。我们将尽全力解决您的问题。
If you have any question for JOHNSON products, please feel free to dial 0086-21-3100 6702/ send request email to sales@ize-industries.com / browse our website:www.ize-industries.com.
JOHNSON控制器PCA2513技术参数及尺寸




















沪公网安备31011002006738号